Showcasing More Surrey IP
Russell IP is based in Surrey, part of South East England. Although Russell IP works with companies all over the world, we have numerous local clients whose innovations we help protect. The area is home to many businesses, designers, entrepreneurs and others who develop technologies in lots of different technical fields. This blog post looks at some Surrey- and Hampshire-based companies and their patent portfolios.
The picture above was taken by Russell IP Founder and Director Iain Russell in the village of Albury.
Xcience
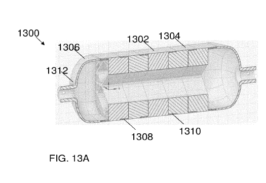
Xcience is a clean-tech engineering consultancy, with a particular focus on energy-storage solutions, including customisable gas storage vessels. Xcience was established in Woking in 2015 and now has its headquarters in Farnham.
Xcience has applied for patent protection of its “Pressure Vessel Liner, Pressure Vessel and Methods” technologies in countries including Canada, China, Europe, the UK, Japan, South Korea and the US. Several patent offices have granted patents.
Hallmarq Veterinary Imaging
Guildford-based Hallmarq Veterinary Imaging is a developer, manufacturer and supplier of veterinary imaging equipment. Hallmarq’s products includes magnetic resonance imaging (MRI) and X-ray computed tomography (CT) machines of various sizes, suitable for different types of animals, with a particular focus on products for equine veterinary work.
Since Hallmarq was founded in 2000, the company has obtained patent protection in territories including the UK, Europe, the US and Japan, with patent titles such as “Apparatus for X-Ray CT Scanning” and “Installation for Scanning a Leg or Other Limb of an Animal with a Magnetic Resonance Imaging Apparatus”.
MatOrtho
MatOrtho, with its UK base in Leatherhead, not far from Russell IP’s main office, is a medical devices designer and manufacturer specialising in orthopaedic implant devices. MatOrtho has a patent portfolio including over 100 patent applications and patents, across more than 20 patent families and in territories including the UK, Europe, Australia and the US. MatOrtho’s patent documents relate to technologies including ceramic monobloc femoral components, femoral resurfacing head prostheses, dual-mobility prostheses for implantations into the acetabulum, implant anchors, and prosthesis impactor assemblies.
Tisics
Tisics is a metal composites company which develops materials and manufacturing technologies for various engineering applications. Tisics’ areas of particular focus include parts and componentry for aircraft and spacecraft. Tisics develops metal composites and uses near-net-shape manufacturing processes to create hardware for aero and space applications.
Tisics is based in Farnborough, just across the Surrey/Hampshire border. Tisics’ patent portfolio includes several families of applications and multiple granted patents across jurisdictions including the UK, Europe and the US. The patents relate to a range of technologies, including “Reinforced Splines and their Manufacture”, “Filament coating apparatus” and “Coated filaments and their manufacture”.
Conclusion
If you are based in Surrey or nearby and you are looking for a local firm of patent attorneys to support you in protecting your technology, get in touch for a free, no-obligation conversation with one of our patent experts.
To read about more Surrey companies and their technology, check out our previous post showcasing Surrey IP.

