- Rockin’ Patent®: FR 3,108,010
- Filed: 6 March 2020
- In the name of: Devialet SA
- Title: Loudspeaker Comprising A Rigid Membrane Connected To At Least Two Coils
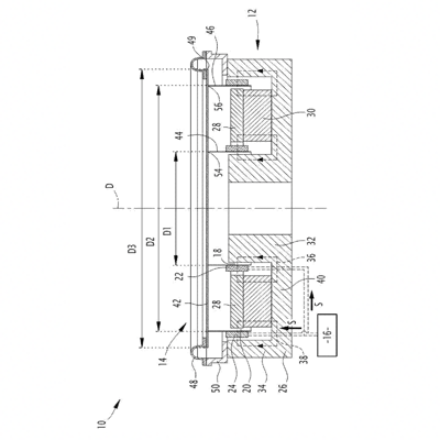
- What’s claimed: (machine translation from French into English) “Loudspeaker (10) comprising a magnetic circuit (12) and a mobile assembly (14) relative to the magnetic circuit (12) along an axis (D) of the loudspeaker, the mobile assembly (14) comprising:- a rigid membrane (42) adapted to emit sound waves and defining an external diameter (D3),- at least a first coil carrier (44) and a second coil carrier (46) fixed to the rigid membrane (42),- at least a first spool (22) and a second spool (24) fixed respectively on the first spool holder (44) and the second spool holder (46) and located respectively in a first air gap (18) and a second air gap ( 20) defined by the magnetic circuit (12), the first coil carrier (44) and the second coil carrier (46) respectively form a first junction (54) and a second junction (56) with the rigid membrane (42) , the first junction (54) and the second junction (56) being concentric with respect to the axis (D) and respectively defining a first diameter junction (D1) and a second junction diameter (D2) greater than the first junction diameter (D1), the second junction diameter (D2) being:- less than 97% of the outer diameter (D3), or- greater than or equal to 97% of the external diameter (D3), the first junction diameter (D1) then being greater than 40% of the external diameter (D3).”
- Why this patent rocks: This patent appears to relate to Devialet SA’s ‘Dione’ soundbar. According to Devialet SA, the soundbar uses “seventeen autonomous high-end drivers, all powered by proprietary Devialet technologies” that serve up 950W of sound across a 5.1.2 channel configuration with full Dolby Atmos support. For a more detailed take on the Dione, see here.
If you’re a patent-savvy music tech business looking for patent help, get in touch with Russell IP here!
The information above is for general interest and information only and does not constitute legal advice.

